资源概况
购买将获得:完整无水印设计报告(含完整程序梯形图)
其他注意:一经购买,概不退款,不提供指导,每年数量有限,售完为止。
资源介绍(截取部分,完整请购买)
1.自动洗衣机PLC控制的控制要求
1.1全自动洗衣机的基本结构、工作流程和工作原理
1.自动洗衣机的基本结构

2.自动洗衣机的工作流程
自动洗衣机的单循环工作流程示意图:

3.自动洗衣机的工作原理:
洗衣机的进水和排水分别有进水电磁阀和排水电磁阀控制。进水时,控制系统使进水电磁阀打开,将水注入外桶;排水时,使排水电磁阀打开将水由外桶排到机外。洗涤和脱水由同一台电机拖动,通过电磁阀离合器来控制,将动力传给洗涤波轮或甩干桶(内桶)。电磁离合器失电,电动机带动洗涤波轮实现正、反转,进行洗涤;电磁离合器得电,电动机带动内桶单向旋转,进行甩干(此时波轮不转)。水位高低分别有高低水位开关进行检测。起动按钮用来起动洗衣机工作。
1.2 洗衣机控制要求
1.控制要求
起动时,首先进水,到高水位时停止进水,开始洗涤。正转洗涤15s,暂停3s后反转洗涤15s,暂停3s后再正转洗涤,如此反复30次。洗涤结束后,开始排水,当水位下降到低水位时,进行脱水(同时排水),脱水时间为10s。这样完成依次从进水到脱水的大循环过程。
经过3次大循环后(第2、3次为漂洗),进行洗衣完成报警,报警10s后结束全过程,自动停机。
在洗涤过程中,按下停止按钮。洗衣机停止工作。
在洗衣机停止工作时,按下排水按钮,洗衣机排水电磁阀得电排水,当水位下降到低水位开关时,排水电磁阀失电停止排水。
2.1 PLC的介绍及选型
PLC外形图
全自动洗衣机控制系统选择西门子公司的S7-200系列PLC作为控制单元,如图1-3所示为所选PLC外形图。

2.3编程软件
1.以西门子公司为S7-200PLC设计的STEP 7 MicroWIN V4.0 incl. SP6 编程软件为例。
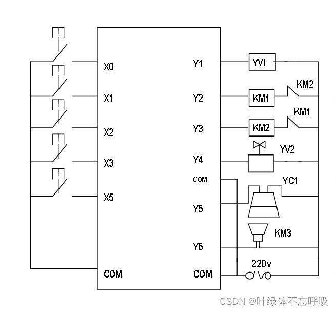
2.I/O接线图

2.4程序的流程图、构成和相关设置
1.流程图
(1) 正常运行流程图
流程图描述:
起动时,首先进水,到高水位时停止进水,开始洗涤。正转洗涤15s,暂停3s后反转洗涤15s,暂停3s后再正转洗涤,如此反复30次。洗涤结束后,开始排水,当水位下降到低水位时,进行脱水(同时排水),脱水时间为10s。这样完成依次从进水到脱水的大循环过程。
经过3次大循环后(第2、3次为漂洗),进行洗衣完成报警,报警10s后结束全过程,自动停机。
在洗涤过程中,按下停止按钮。洗衣机停止工作。
在洗衣机停止工作时,按下排水按钮,洗衣机排水电磁阀得电排水,当水位下降到低水位开关时,排水电磁阀失电停止排水。

3.1系统资源分配

1.Q0.0是启动输出,M0.1是启动辅助继电器
启动洗衣机
Network 1 开始洗涤
LD I0.0
O M0.1
AN C1
AN I0.1
= M0.1
= Q0.0
Network 2 进水阀控制
LD I0.3
AN I0.5
LD I0.4
AN I0.6
OLD
A M0.3
= Q0.1
Network 3
LD T3
O M0.2
AN C0
A M0.1
= M0.2
Network 5 洗衣 正转控制
LD C0
AN T3
AN T0
A M0.1
= Q0.2
Network 5
LD M0.2
AN T2
TON T0, +150
Network 6
LD Q0.2
ED
TON T1,+30
Network 7 反转控制
LD T1
AN T2
A M0.1
= Q0.3
Network 8
LD Q0.3
TON T2, +150
Network 9
LD Q0.3
ED
TON T3,+30
Network 10
LD T3
ED
LD T4
ED
CTU C0, +30
Network 11 出水阀控制
LD C0
LD I0.2
AN M0.1
OLD
= Q0.4
Network 12 脱水计时
LD I0.6
TON T4, +100
Network 13 清洗和漂洗计数
LD M0.2
ED
LDN M0.1
CTU C1, +3
Network 14 报警输出
LD M0.1
TOF T5, +100
Network 15
LDN M0.1
A T5
= Q0.5
2.梯形图(完整梯形图详见下载)

3.程序调试
按下启动按钮SB1,进水电磁阀YVI动作,当水到达高水位X3时,进水电磁阀失电,停止进水,开始洗涤。电机正转接触器KM1动作,正转洗涤T0为15s,时间到停止T1为3s,3s后电机反转接触器KM2动作,反转洗涤T2为15s,时间到停止T3为3s,3s后再正转洗涤,如此反复循环30次,计数器C0计数,若C0没计到30次时,洗衣机继续正反转洗涤,若计数器C0计到30次时,洗涤结束,此时排水电磁阀动作,开始排水,当水位下降到低水位开关处时,排水电磁阀继续动作同时脱水电磁离合器动作,进行脱水(同时进行排水),脱水时间T4为10s。这样就完成一次从进水到脱水的大循环过程。C1计数器计大循环次数,若C1没计到3次时,重复上述动作,若C1计到3次时,洗衣完成,蜂鸣器动作报警,报警时间T5为10s,10s后结束全过程,自动停机。
课程设计小结
这两周的实训,我认识到了很多东西,也学到了很多东西。这次实训的科目是设计全自动洗衣机和大小球分拣机械手的控制,这两个科目综合了我们所学的理论知识,主要培养我们的理论与实践相结合的能力。
在实训期间,我们组的分工很明确,有负责编程的,有负责接线的,有负责画电路图的。虽说分工明确,但在操作过程中遇到些麻烦的话组员之间还是相互配合相互帮助,尽量让每一个组员学到更多的专业知识,使每一个组员更上一个层次。此次的课程设计,也使我们的同学关系更进一步了,同学之间互相帮助,有什么不懂的大家在一起商量,听听不同的看法对我们更好的理解知识,所以在这里非常感谢帮助我的同学。
通过这次实训,我更深入的认识和学习了PLC,大大提高了自己的理论知识和动手能力,而且还懂得了团队的力量,让自己更相信一分努力一分收获,积极的学习态度在以后的学习、工作中是永远缺少不了的。
参考文献
[1]廖常初.PLC基础及应用.机械工业出版社,2004
[2]江汉秀.可编程序控制器原理及应用.西安电子科技大学出版社,2002
[3]廖常初.可编程序控制器的编程方法与工程应用.机械工业出版社,2006
[4]周亚军.张卫等.电气控制与PLC原理及应用. 西安电子科技大学出版社,2008
[5]陈建明.电气控制与PLC应用.北京:电子工业出版社,2006




















暂无评论内容