资源概况
购买将获得:完整无水印设计报告(含梯形图程序、无水印流程图等)
其他注意:一经购买,概不退款,不提供指导,每年数量有限,售完为止。
资源介绍(截取部分,完整请购买)

按照城市交通控制的需要,本文讨论了用PLC实现正常时序、急车强通2种控制方式,通过传感器与PLC完成对交通异常状况(滞留或堵车)的判别及处理。
正常时序控制对路面进行控制,南北方向红灯时,东西方向绿灯,绿灯闪3秒紧接着黄灯闪2秒,变红灯,南北方向红灯直接变绿灯,东西方向红灯时同理。
急车强通时,发送信号给交通灯让其对来急车方向的交通灯进行绿灯畅通。急车强通信号受急车强通开关控制;无急车时,信号灯接正常时序控制;有急车来时,一律强制让急车方向的绿灯亮,使急车放行,直至急车通过为止。
交通滞留的异常情况,在路口与路尾设置两个传感器进行检测车流量。交通路段车流量繁忙时,传感器起到勘测车流量的存在与通过的作用。当一方车流量过大的时候,PLC要对控制这一路段的信号灯进行调控,让滞留或堵车的一方绿灯时间加长,直到交通畅通为止这种工作的好处是避免了交通堵塞造成的不必要的麻烦与事故。
本文选用三菱系列的FX2N-64,其输入端接收来自各个路口的车辆探测器测得的输出标准电脉冲,输出接十字路口的红绿信号交通灯。信号灯的选择:选用红、黄、绿发光二极管作为信号灯(箭头方向型)。FX2N系列拥有无以匹及的速度、高级的功能、逻辑选件以及定位控制等特点,FX2N是从16到256路输入/输出的多种应用的选择方案。价格便宜,功能齐全,比起其他PLC有着速度、逻辑、定位等优越之处。安装简单,维修方便。FX2N-64的I/O总数32,输入/输出各32个,输入类型为漏型,输出类型为继电器或晶体管。FX2N通过储存的程序周期运转。
正常时序、急车强通和车辆的流量记数、交通灯的时长控制可由可编程控制器(PLC)来实现。当然,也可选用其他种类的计算机作为控制器。我选用PLC作为控制器件是因为可编程控制器核心是一台计算机,它是专为工业环境应用而设计制造的计算机。它具有高可靠性丰富的输入/输出接口,并且具有较强的驱动能力;它采用一类可编程的存储器,用于其内部存储程序,执行逻辑运算,顺序控制,定时,计数与算术操作等面向用户的指令,并通过数字或模拟式输入/输出控制各种类型的机械或生产过程;它采用模块化结构,编程简单,维修方便。
3.2 I/O地址分配

O/Y431到O/Y435 PLC输出点分别控制着两个信号灯,如果PLC输出点的输出电流不够大,可以用一个输出点驱动一盏信号灯,也可以在PLC输出端增设中间继电器,由中间继电器再 去驱动信号灯。
根据示意图和控制要求可知,该系统需要3个输入点和6个输出点,起地址分配如下:

3.3 主程序流程图

启动电源,信号输入先传送到急车强通控制,无线接收数据相同执行急车强通的子程序,不同就传送到滞留情况,电感式传感器有高频电流通过电感时,车流量大,当车辆进入路口经过第一个传感器时,使统计数加1,经过第二个传感器2出路口时,使统计数减1,其差值为该股车道上车辆的滞留量(动态值),可以与其他道的值进行比较,据此作为调整红绿灯时长的依据。这时执行滞留情况子程序。如果不是进入正常时序状态。
3.4 正常时序情况
PLC投入运行后,由方波发生器的辅助继电器M100产生周期为1s(接通0.5s、断开0.5s)的方波脉冲,供信号闪光灯控制用。



十字路口PLC自动调整红绿灯时给信号灯电源,信号系统工作;南北红灯亮,东西绿灯亮;南北红灯亮维持25s,在南北红灯亮的同时东西绿灯亮,并维持20s;到20s 时,东西绿灯闪亮,绿灯闪亮周期为1s(亮0.5s,0.5s);绿灯闪亮3s后熄灭,东西黄灯亮,并维持2s;到2s时,东西黄灯熄,东西灯亮,同时南北红灯熄灭,南北绿灯亮;西灯亮维持30s,南北绿灯亮维持25s到25s时,南北绿灯闪亮3s后熄灭,南北黄灯亮,并维持2s;到2s时南北黄灯熄,南北红灯亮,同时东西红灯熄,东西绿灯亮,开始第二周期的动作。
程序运行过程如下:
当启动开关合上是,X400接通,使Y432、Y434接通,南北红灯亮、东西绿灯亮;T450开始计时。T450 20s计时到,T450常闭触点断开,T450常逼触点闭合,通过M100常开触点、T451常闭触点使Y434按照M100的通断周期通断,东西绿灯闪光;T451开始计时。当东西绿灯闪3次(时间为3s)时,T451计时到,T451常闭触点断开,使Y434断开,东西绿灯闪光熄;T451常开触点闭合,使Y435接通,东西黄灯亮;T452开始计时。T452 2s计时到,T452常闭触点断开,使Y432、Y435断开,南北红灯熄、东西黄灯熄;T452常开触点闭合,使Y452常闭触点闭合,使Y436、Y430接通,东西红灯亮、南北绿灯亮;T453开始计时。T453 25s计时到,T453常闭触点断开,T453常开触点闭合,通过M100的通断周期通断,南北绿灯闪光;T454开始计时。T454 3s计时到,T454常闭触点断开,使Y430断开,南北绿灯闪光熄;T454常开触点闭合,使Y431接通,南北黄灯亮;T455开始计时。T455 2s计时到,T455常闭触点断开,使Y436、Y431断开,东西红灯熄、南北黄灯熄;同时使T450、T451、T451、T453、T454、T455全部计时器复位(断开),于是T450常闭触点、T452常闭触点闭合,分别使南北红灯亮和东西绿灯亮,开始第二周期的动作,以后周而复始的进行。当启动开关断开时,X400断开电器断开,全部信号灯熄灭。
3.5 急车强通情况



急车强通信号受急车强通开关控制;无急车时,信号灯接正常时序控制;有急车来时,将急车强通开关接通,不管原来信号灯的状态如何,一律强制让急车方向的绿灯亮,使急车放行,直至急车通过为止;急车一过,将急车强制开关断开,信号灯的状态立即转为急车放行方向上的绿灯闪3次,随后按正常时续控制;急车强通信号只能响应一路方向的急车,若两个方向先后送急车,则响应先来的一方,随后再响应另一方。交通路段经常会出现紧急情况的发生。比如一台救护车需要急救,强通十字路口,为了病人的生命安全保障,需把此路段畅通,让救护车通过。
当东西急车强通开会合上时,X401接通,M200接通,M200常闭触电断开,使T451、T452、T453、T454、T455全部计时器断开;M20-0常开触电闭合,使Y432、Y434接通,南北红灯亮、东西绿灯亮,让东西急车放行,当东西急车强通开关断开时,X401断开,M200断开,M210接通,M200发出脉冲,使M230接通并自保,M230常闭自动端开,使“东西绿灯”支路及“东西绿灯计时”支路断开;M230常开触电闭合,使Y432继续接通,南北红灯继续亮;使“东西绿灯闪”支路及“东西绿灯闪计时”支路接通,T451开始计时。当东西绿灯闪3次(时间为3s)时,T451常闭触电断开“东西绿灯闪”支路;T451常开触电接通Y435及Y452,东西黄灯亮并且开始计时,……以后按正常时序动作。当动作进行完最后一步,既T455计时到,则T455常闭触电断开,使M230断开,动作按正常时序从头开始运行。南北方向同理。

流程图中的15s、30s、75s等时间分别为交管部门定的车辆左转弯时间、直行最小时间、允许的最大通行时间;σ为车流量的偏差量。以上值及其4个路口车流量的满溢值均可在程序初始化中任意更改。车辆左转弯是造成交通堵塞很重要的一个方面,应加以适当限制,故车辆左转弯始终采用最小定时控制,以减小系统的复杂程度,提高可靠性。车辆通行的时间中包含绿、黄灯闪烁的时间,红、黄、绿各灯的切换与现用的方式相同。人行道的红绿灯接线与现用的方式相同,其绿灯点亮的时刻与该方向车辆直行绿灯点亮的时刻同步一致,但要较车辆直行绿灯提前熄灭,采用定时控制,如绿灯定时亮18s。其目的是不让右转弯车辆过分受人行道灯的限制。若是人车分流,右转弯车辆不受限制。
3.7 车流量的计算
(1)每股行车道的车流量通过PLC分别统计。当车辆进入路口经过第一个传感器1(见图11)时,使统计数加1,经过第二个传感器2出路口时,使统计数减1,其差值为该股车道上车辆的滞留量(动态值),可以与其他道的值进行比较,据此作为调整红绿灯时长的依据。
(2)先统计每股车道上车辆的滞留量,然后按大方向原则累加统计。如,将东西向的(见图5)左行、直行、右行道上的车辆的滞留量相加,再与其它的3个方向的车流量进行比较,据此作为调整红绿灯时长的依据。
(3)统计每股车道上车辆的滞留量后按通行最大化原则(不影响行车安全的多道相向行驶)累加统计。如,东、西相向的2个左行、直行、右行道上的车辆的滞留量全部相加,再与南北向的总车流量进行比较,据此作为调整红绿灯时长的依据(下面的例子就是按此种方式)。

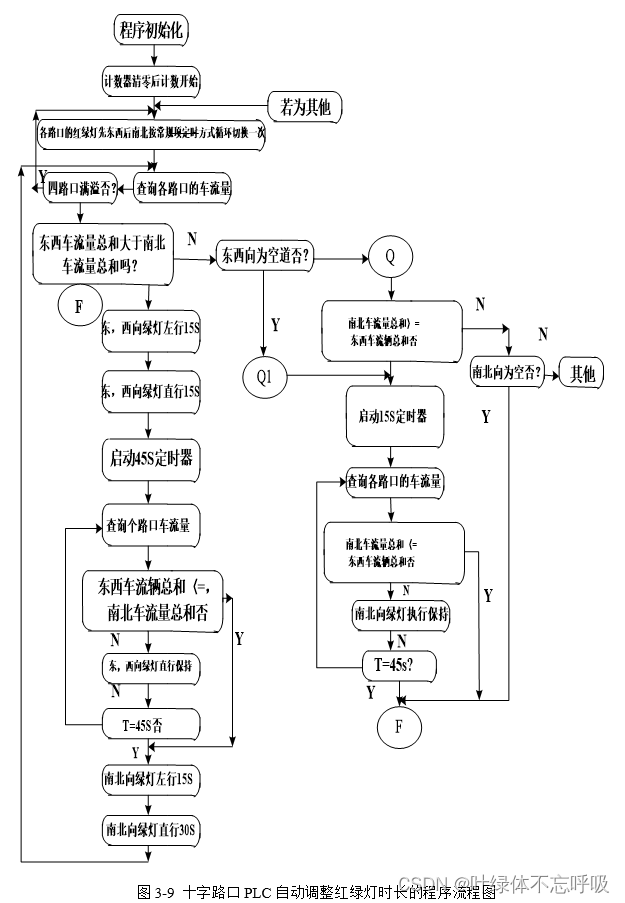
上述所描述的车流量统计方式,十字路口PLC自动调整红绿灯时长的程序流程图如图8所示,其行车顺序与现实生活中执行的一样,只是时间长短不一样。
程序的控制规律如下:
(1)当各路口的车辆滞留量达一定值溢满时(相当于比较严重的堵车),红绿灯切换采用现有的常规定时控制方式;
(2)当东、西向路口的车辆滞留量比南、北向路口的大时(反之亦然),该方向的通行时间=最小通行定时时间+自适应滞环比较增加的延时时间(是变化的),但不大于允许的最大通行时间。其中最小定时时间是为了避免红绿灯切换过快之弊;最大通行时间是为了保障公平性,不能让其它的车或行人过分久等。进一步的说明在后面的注释中。
(3)自适应滞环比较(本例的核心控制规律)增加的时间的确定若东、西向车辆滞留量≥南、北向一个偏差量σ(如30辆车或其它值)时,先让东、西向的左转弯车左行15s(定时控制,值可改),再让直行车直行30s(直行时间的最小值,值可改)后再加一段延时保持,直至东、西向的车辆滞留量比南、北向的车辆滞留量还要少一个偏差量σ,才结束该方向的通行,切换到其它路上,否则一直延时继续通行下去,直至到达最大通行时间而强制切换。滞环特性如图9所示。实际应用时σ的值需整定,过小则导致红绿灯切换过频,过大又不能实现适时控制。
3.8 运行程序语句表(详见下载)






















暂无评论内容